

取消
清空记录
历史记录
清空记录
历史记录
1、设计目标
35~10kV光伏中压电站并入电网系统,按供电局要求,需要光伏电站实时数据接入供电局调度中心,并接收光伏电站的调度、远程控制。光伏二次设备一般用于高压光伏并网系统中。分布式光伏发电项目,一般多为10KV并网和400V并网。其中400V并网项目一般涉及到的二次设备比较少,常见的有电能质量在线监测装置、防孤岛保护装置等等。
对于10KV并网发电的项目,容量多为10MW以内,涉及到的二次设备就相对多一些了,而这其中涉及的常见二次设备有光伏后台监控系统、远动通讯屏、调度数据网屏、光伏二次安防屏、光伏二次设备预制舱、防孤岛保护装置、电能质量在线监测装置、故障解列装置等。
2、设计要点
(1)各种电气参数、信号、状态采集 要与现场设备匹配,并要事先与调度中心对接,保证采集参量符合供电局验收要求。
(2)网络组网建设 ,要符合现场实际情况,要考虑经济性和稳定性并重
(3)供电局专线接入一般要在设计前与供电局沟通,是2M专线接入还是4G接入,2M需要什么样的运营商才有通讯资源等。
(4)信息采集、转发给调度,需要根据调度中心的点表要求设计信息转发格式。
(5)设备通讯接口适配、规约转换。需要与设备厂家匹配,同时调度的转发规约要满足调度的通讯规约规范。
(6)光伏电站自动化软件系统设计。
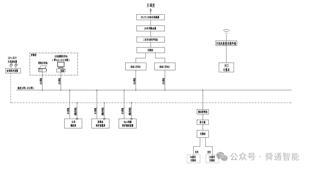
3、整体构架图(按南网要求)
二、主要屏柜及设备清单(一般采用组屏)
1、公用测控屏主要设备清单
(1)公用测控装置:采集二次预制舱的温度、火灾报警、烟雾报警、二次设备异常等信号,可输出远程启动风扇排气等控制信息
(2)通讯管理机:采集光伏逆变器、光伏板、并网柜、箱变等配电一次设备和发电设备实时数据,可支持多种规约接入
(3)防火墙:采用华为硬件防火墙,将光伏交换机和通讯管理机进行物理安全隔离,保证外部通讯网络和自动化系统安全隔离
(4)站控层交换机:采用光纤自愈环网方案,将箱变测控连接到交换机,通讯管理机通过交换机采集箱变数据。
2、防孤岛及电能质量监测屏
(1)防孤岛装置:当电站电压、频率、功率方向异常时,出现电站的孤岛现象,快速保护动作,保证设备和人身安全。
(2)电能质量在线监测:实时监测并网柜的电能质量。
(3)打印机
3、远动通讯屏
(1)远动装置:是供电局调度中心和电站数据对接的重要接口设备,主要负责接收转发调度命令,并将现场实时监测数据转发到供电局调度中心。
(2)备用远动装置:热备用远动装置,当第一台远动装置出现异常或者网络出现问题时,可及时启动备用远动装置,保证调度正常。
(3)双机切换装置:负责实时监测远动装置的通讯状态和网络状态,如果出现异常时,能够保证无缝切换远动装置。
(4)交换机
4、调度数据通讯屏
(1)MSTP/2M协议转换器:将SDH多业务数据协议转换成2M,这样可以利用电运行商的2M专线走以太网数据。
(2)纵向数据加密装置:是调度数据安全的核心设备,设备型号必须与供电局调度的接收加密解密设备匹配,常见南瑞NetKeeper2000。
(3)2M专线路由器:实现2M专线从供电局调度到电站内部的路由管理,需要专用设备。
(4)交换机
